Ab 400 CHF kostenloser Versand ab Lager
zug-und-druckkraftsensor-f10n
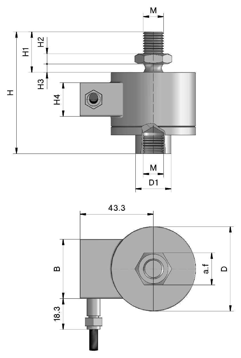
Der kompakte Kraftaufnehmer F10N wurde speziell für die Messung statischer und dynamischer Zug- und Druckbelastungen konzipiert. Das zentrisches Gewinde in oberem und die Bohrung unterem Teil der Wägezelle sorgt für optimale Krafteinleitung in Zug- oder Druckrichtung. Die Wägezellenaus sind gefertigt aus hochwertigem Edelstahl und liefern auch im Langzeiteinsatz in rauer Industrieumgebung äußerst präzise und reproduzierbare Messergebnisse. Die Wägezelle ist laserverschweißt und erfüllt die Anforderungen der Schutzklasse IP68. Für die Messung von Kräften werden diese Wägezellen auch sehr häufig in der physikalischen Einheit Newton kalibriert und als Kraftaufnehmer eingesetzt.
Behälterwaagen, Band- und Dosierwaagen, Hybridwaagen, Überwachung von Fügekräften, Zugkraftmessungen
Die Wägezelle sollte so eigebaut werden, daß die Kraft axial und zentrisch in den Aufnehmer eingeleitet wird. Kraftnebenschlüsse, Seitenkräfte und Drehmomente können Messverfälschungen verursachen und sollten durch Einbauhilfen, wie z. B. Gelenkösen eliminiert werden.

| Last | D | D1 | B | H | H1 | H2 | H3 | H4 | M |
|---|---|---|---|---|---|---|---|---|---|
| 0,5 - 1 t | 50 | 21 | 35 | 72 | 24 | 6 | 5 | 20 | M12 |
| 2 t | 90 | 33 | 50 | 112 | 38 | 10 | 10,6 | 30 | M20x1.5 |
| 5 t | 100 | 40 | 50 | 141 | 47 | 12 | 13,2 | 30 | M24x2 |
| 10 t | 135 | 68 | 50 | 197 | 67 | 19 | 19 | 30 | M39x2 |
| 20 t | 155 | 82 | 50 | 232 | 85 | 22 | 24,2 | 30 | M48x2 |
| Genauigkeitsklasse | 0,3 | |
| Nennlast (Emax) | kg | 500, 1.000 |
| Anzahl der Teilungswerte (nLC) | 3000 | |
| Nennkennwert (Cn) Kennwerttoleranz |
mV/V | 2,0 ± 0,01 |
| Kennwert vom relativen Mindestteilungswert d. WZ (Y = Emax / vmin) | % von Emax | |
| Mindestvorlast (Emin) | 0 | |
| Grenzlast (EL) Bruchlast (Ed) |
% von Emax | 150 200 |
| Empfohlene Speisespannung (Uref) Maximal zulässige Speisespannung (BU) |
V | 5-12 15 |
| Nullabgleich | % v. Cn | ± 1 |
| Eingangswiderstand (RLC) bei Referenztemperatur Ausgangswiderstand (RO) bei Referenztemperatur |
Ω | 400 ± 10 352 ± 3 |
| Isolationswiderstand | MΩ | > 5 000 |
| Kabellänge | m | 5 |
| Nenntemperaturbereich (BT) Gebrauchstemperaturbereich (Btu) |
°C | - 10 ... + 40 - 35 ... + 70 |
| Schutzart nach (DIN 40.050 / EN 60529) | IP 68 | |
| Werkstoff | Edelstahl |
Wir liefern ab einem Bestellwert von CHF 400.– versandkostenfrei.
Die Lieferzeit variiert je nach Produkt und wird Ihnen auf Anfrage gerne mitgeteilt.
Rufen Sie uns an
031 859 06 66
Kostenloser Versand
Ab 400 CHF frei von Versandkosten
Lieferung
Lieferung in 2-3 Tagen